



锂矿石的加工方法有手选法、浮选法、化学或化学浮选联合法、热裂法、放射性选择法、颗粒浮选法,前三种方法都是常用的。该锂矿石选矿厂主要采用浮选、强磁选等方法。锂矿石选矿设备常用的有:破碎机、球磨机、分级机、跳汰机、浮选机、磁选机等。




手选和浮选是选别锂辉石的主要方法,其他方法如热裂法、磁选法、重选法在锂辉石精矿生产中起着辅助的和次要的作用。
手选法
手选法是基于锂矿物与脉石矿物在颜色和外观上的差异而达到分选目的的一种选别方法。其选别粒度一般为10~25毫米,选别粒度下限的确定,取决于经济效益。手选是锂矿生产史上最早使用的选矿方法,除锂辉石外,手选还用于生产锂云母、透锂长石、锂磷铝石等锂精矿。
浮选法
浮选工艺是目前最主要锂辉石选矿提取工艺,在浮选工艺中,矿浆的搅拌强度、温度以及浮选药剂的选择,是影响锂辉石浮选工艺的关键性因素。通过专家大量实验表明,在酸性介质中,以十二胺作捕收剂预先浮脉石,浮选尾矿采用碳酸钠-氢氧化钠-氯化钙作组合调整剂、氧化石蜡皂+油酸作混合捕收剂浮选锂矿物,可得到较高品位的锂辉石精矿。
水中钙离子含量对锂辉石浮选工艺影响比较大,所以水的软硬不同,调整剂的用量也有所不同。锂辉石表面常受外界污染,可浮性会下降,在软水质条件下,使用环烷酸皂可大大提升回收率,所以针对不同性质特点的锂辉石,要选择合适的锂辉石选矿工艺和捕收剂等。
热裂选矿法
热裂选矿法是选别锂辉石矿的一种方法。该法是基于天然锂辉石在1100℃左右焙烧时,其晶体从α型转变为β型,同时体积膨胀,易碎成粉末,从而可用选择性磨矿和筛分达到锂辉石与脉石矿物间的分离。
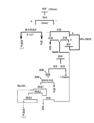
重介质选矿法
由于锂辉石与伴生脉石矿物在密度上的差别不大,采用通常的跳汰、螺旋选矿和摇床选矿等重选方法是不适于锂辉石矿的选别。但重介质选矿或重液选矿却是锂辉石矿的一种有效的选别方法
磁选法
磁选通常作为一种辅助方法用以提高锂辉石的精矿质量。如美国北卡罗莱纳州金丝山选厂浮选生产的锂辉石精矿含铁高,只能作化工级精矿出售,为了满足陶瓷工业的要求,该厂采用磁选除铁。此外由于铁锂云母具弱磁性,可用磁选作为生产铁锂云母精矿的主要方法。





破碎机、球磨机、分级机、跳汰机、浮选机、磁选机等。
金鹏对每一个项目都严格管理,全程专人跟踪,保证整体流程的顺畅性,设计院跟踪工程设计,精准定位工艺及其所需产品,不仅保证技术,并为降低客户成本而选择最配的工艺。
金鹏做的每一个项目,都给客户带去了最佳的效益。得到客户的一致好评!客户给金鹏介绍更多的项目,因为他们很是认准金鹏!
如果你有同样的项目要做,可以直接先咨询下我们金鹏的专家,让我们的专家根据你的锂矿的情况,给你做一个最佳的方案。