



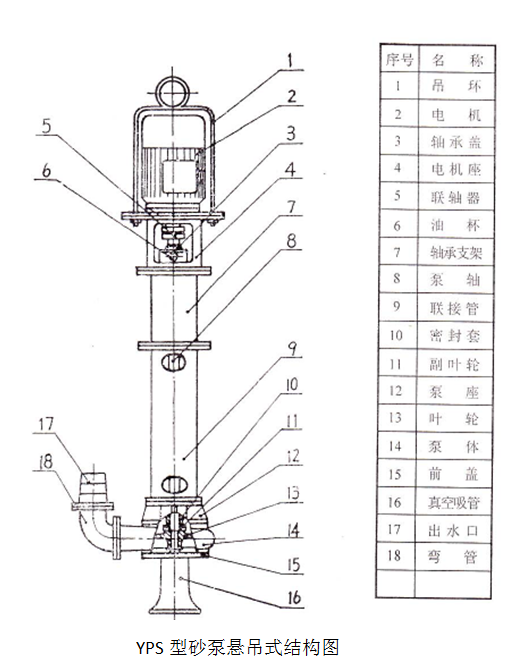
YP型多用液下泵叶轮必须沉入液体内部才能正常工作,也可真空抽吸,每种泵都各有几种不同的长度规格。





液下泵是一种单螺杆式输送泵,它的主要工作部件是偏心螺旋体的螺杆(称转子)的内表面呈双线螺旋面的螺杆衬套(称定子)。其工作原理是当电动机带动泵轴转动时,螺杆一方面绕本身的轴线旋转,另一方面它又沿衬套内表面滚动,于是形成泵的密封腔室。螺杆每转一周,密封腔内的液体向前推进一个螺距,随着螺杆的连续转动,液体以螺旋形方式从一个密封腔压向另一个密封腔,最后挤出泵体。
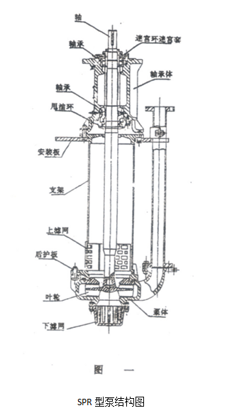
SPR型泵浸入液下的零部件均带橡胶外衬,适用于输送无棱角的磨蚀性渣浆。
根据渣浆池液面的高低,可选择不同长度的泵传动轴或吸入管。
采用多种速度和多种变型方式,使得泵在最佳工况下运行,使用寿命长,运行效益高,能满足多类恶劣的输送条件。
型号 | 流量 m³/h | 扬程m | 转速r/min | 电机功率kw | 叶轮直径 mm | 出口直径 mm | 效率% |
40PV-SP | 10.1~20.9 | 10.3~20.9 | 1420 | 2.2 | 188 | 40 | 30~38 |
如果您正在寻找相关产品,或者有其他问题,可随时拨打金鹏矿业机械服务热线,或点击下方按钮与我们在线交流!