





该机是20世纪50年代从原苏联引进的,型式较老,虽经改进,但基本机构没变,且早已定型,形成系列。由于历史的原因,这种浮选机在我国应用最广,近年来虽说已被一些新型浮选机取代,但仍在广泛应用。
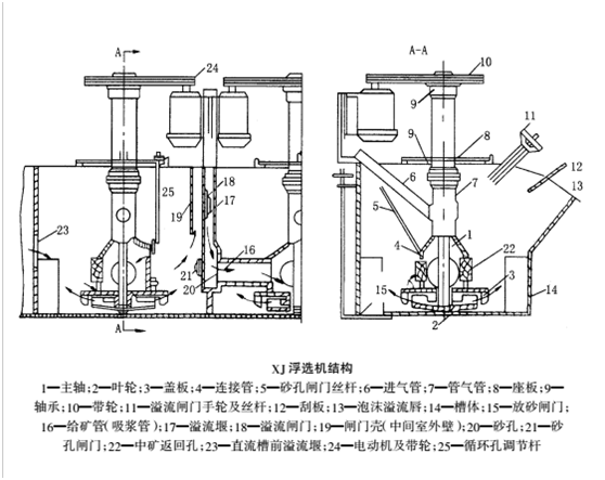
XJ型浮选机的基本结构示于图5-2-1,它由两个浮选槽构成一个机组,第一槽(带有进浆管)为吸入槽,第二槽为直流槽,此二槽之间有中间室。叶轮安装在主轴下端,主轴上端有皮带轮,用电动机带动旋转。空气由进气吸管吸入。每组浮选槽的矿浆水平面由闸门调节。叶轮上方装有盖板和空气筒(又称竖管)。空气筒上开有孔,用来安装进浆管、中矿返回管或用作矿浆循环,孔的大小可以通过拉杆调节。
该浮选机的主要结构与工作特点:
1)盖板上装有18~20个导向叶片,这些叶片倾斜排列,与半径成55~60度倾角,它们对叶轮甩出的矿浆流具有导向作用。在盖板上的两导向叶片之间有18~20个循环孔,供矿浆循环用,由此可增大充其量;
2)叶轮与盖板导向叶片之间的间隙一般应为5~8mm,过大会对吸气量和电耗造成不利 影响。通常,将叶轮、盖板、主轴、进气管和空气筒等充气搅拌零件组装成一个整体部件(图5-2-3)这样可使叶轮和盖板同心装配,以保证叶轮与盖板导向叶片之间的间隙符合要求,而且便于检修和更换;
3)在空气筒下部,有一个调节矿浆循环量的循环孔,并且用闸板控制循环量,因此,通过叶轮中心的矿浆量,可随外界给矿量的变化加以调节。在直流槽中,也可使内部矿浆循环,以满足在最大充气量时所需要的叶轮中心给矿量。

XJ型自吸空气机械搅拌浮选机技术性能 | |||||||
型号 | 有效容积m3 | 处理能力m3/min | 叶轮直径mm | 叶轮转速r/min | 电机功率kw | 单槽重量kg | |
搅拌用 | 刮板用 | ||||||
XJ-1 | 0.13 | 0.05-0.16 | 200 | 600 | 1.5 | 0.55 | 320 |
XJ-2 | 0.23 | 0.12-0.28 | 250 | 504 | 3 | 390 | |
XJ-3 | 0.35 | 0.18-0.4 | 300 | 483 | 1.5 | 0.75 | 430 |
XJ-6 | 0.62 | 0.3-0.9 | 350 | 400 | 3 | 1.1 | 860 |
XJ-11 | 1.1 | 0.6-1.6 | 500 | 330 | 5.5 | 1635 | |
XJ-28 | 2.8 | 1.5-3.5 | 600 | 280 | 11 | 2430 | |
XJ-58 | 5.8 | 5-7 | 750 | 240 | 22 | 1.5 | 3633 |
如果您正在寻找相关产品,或者有其他问题,可随时拨打金鹏矿业机械服务热线,或点击下方按钮与我们在线交流!